立式磨粉机核心特点的解析是很多工业制粉用户关心的重点 —— 作为集多功能于一体的先进制粉设备,它在非金属矿、工业固废处理等领域应用广泛,不管是投资成本、运行效率还是环保性能,都有突出优势,今天就给大家详细拆解这些核心特点。

一、立式磨粉机 7 大核心特点,实用又省心
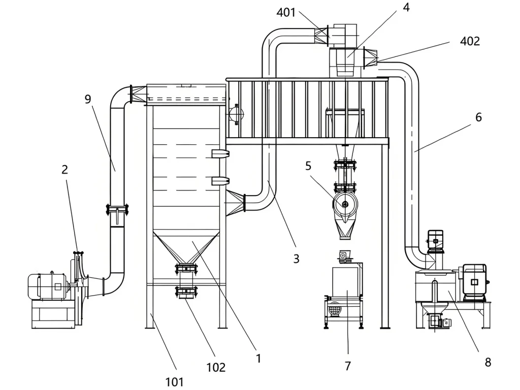
- 投资费用低,性价比高:设备集破碎、干燥、粉磨、分级、输送于一体,不用额外搭配其他辅助设备,系统简单、布局紧凑。占地面积只相当于传统球磨系统的 50%,而且可以露天布置,不用专门建厂房,能大大降低场地和设备投资成本。我们合作的一家建材厂,用它替代传统球磨系统,前期投资直接省了 30%。
- 运行成本低,长期省钱:
- 磨粉效率高:采用磨辊在磨盘上直接碾压物料的方式,能耗比球磨系统低 30%-40%,电费这一项就能省不少;
- 磨损少、寿命长:工作时磨辊和磨盘不直接接触,再加上辊套、衬板都是优质耐磨材料做的,磨损特别小,不用频繁更换,后期维护成本大幅降低。
- 烘干能力强,适配多种湿度物料:热风能在磨内直接和物料接触,烘干、粉磨同步进行,节能又高效。通过调节热风温度,不管是潮湿的矿石(比如含水量 20% 以上的煤矸石),还是干燥的物料,都能处理得妥妥的,不用额外配烘干设备,省了不少麻烦。
- 操作简便,不用费太多人工:
- 配备自动控制系统,能实现远程操作,工人在控制室就能监控设备运行状态、调整参数,不用守在机器旁;
- 还有防止辊套和磨盘衬板直接接触的装置,避免了设备出现破坏性冲击和剧烈震动,运行特别稳定,新手也能快速上手。
- 产品质量稳定,合格率高:物料在磨内停留时间短,不容易出现过度碾磨的情况,而且能精准检测和控制成品粒度及化学成分,减少重复碾磨。不管是生产固定目数的粉体,还是对化学成分有要求的原料,都能保证质量稳定,产品合格率特别高。
- 维修方便,减少停机损失:设备配有检修油缸,想更换辊套、衬板的时候,翻转动臂就能操作,不用大拆大卸,省时间又省力。之前有客户反馈,普通磨粉机换一次衬板要停 1 天,这款设备半天就能搞定,大大减少了停机带来的损失。
- 环保达标,符合政策要求:运行时震动小、噪音低,而且设备整体密封,整个系统在负压下工作,没有粉尘外溢,车间里干干净净的,完全满足国家环保要求。现在环保查得严,用它生产不用担心被处罚,还能给工人创造好的工作环境。
要是你想了解立式磨粉机的具体型号选型,或者想根据自己的物料、产能需求定制方案,可联系上海丁博重工专业技术团队(上海丁博重工专业技术团队),他们会给出针对性建议。
总的来说,立式磨粉机的核心优势就是 “省成本、高效率、稳质量、易操作、够环保”,完全能满足现代工业制粉的需求,是很多企业的首选制粉设备。
行业动态
- 查看详细
移动破碎站的现状及发展:技术革新与行业应用趋势解析
1426上海丁博重工机械有限公司解析移动破碎站的现状及发展,涵盖技术演进、设备构成、核心优势与行业应用,结合工程案例,为露天开采行业提供移动破碎站解决方案参考。
- 查看详细
破碎机助力建筑垃圾回收利用:可持续发展的关键一步
1447上海丁博重工机械有限公司解析破碎机助力建筑垃圾回收利用的技术应用、多维效益及创新挑战,结合工程案例提供行业发展建议,推动建筑垃圾资源化可持续发展。
- 查看详细
石料破碎机械设备厂家
1274了解石料破碎机械设备的主要类型,包括颚式破碎机、圆锥破碎机、反击式破碎机和制砂机,以及如何选择合适的厂家。本文将详细介绍石料破碎设备的工作原理、优势,并提供选择厂家的实用建议,帮助您找到高效可靠的破碎机械供应商。
- 查看详细
- 查看详细
制砂机在矿山行业设备中占据重要地位的原因:7 大核心优势揭秘
1430制砂机在矿山行业设备中占据重要地位,这是由其广泛应用与多重优势决定的。本文详解制砂机在矿山行业设备中占据重要地位的原因,涵盖技术、环保、经济等维度,附行业参考链接,助您深入了解。
- 查看详细
颚式破碎机规格和型号
1159了解上海丁博重工机械有限公司提供的多种规格的颚式破碎机,包括PEW系列、PE系列、PEX系列等颚式破碎机,满足各种生产需求。我们的设备具有高效、耐用、稳定等特点,适用于矿山、建筑、冶金等行业。
- 查看详细
- 查看详细
直线筛和圆振动筛的区别,您选对了吗?
1165了解直线筛和圆振动筛的主要区别,包括运动方式、结构特点、物料运动、激振器设计、物料堵塞、安装倾角和适用范围。选择适合的筛分设备以提高生产效率,获取更多信息,请联系上海丁博重工,电话:13816711123。
loading…
已经是到最后一篇内容了!
在线咨询
联系我们
ABOUT US
客服专线:
138-1671-1123
售后电话:
021-68098369
联系邮箱:
info@shdbzg.com

关注抖音号

关注微信小程序
销售经理专业对接
如需具体型号采购,可以在产品中心进行筛选选取型号后提交询盘,填写具体的产品数量,我们的客户经理会立刻给您最优惠的批发价格
没有找到型号可以在此处留言,我们将竭尽所能为您寻找
上海丁博重工机械有限公司